产品展示

您当前所在位置:首页 - 产品展示 - 阳光房

产品展示 - 阳光房

Products display

  •  阳光房

阳光房

60秒人工响应

30分钟内给予技术咨询答复

24小时免费咨询服务

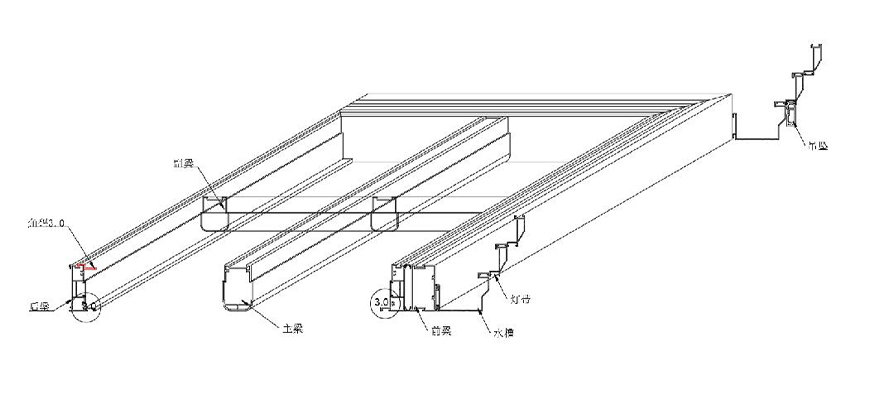
高贵奢华,满足居住者把自然引进住所,让阳光沐浴生活,与星空透明接触,和风雨亲近对话。多元化设计,室内、多元素暖光灯带,提升温馨情感,

浪漫风情,室外,水槽多层次设计,暖光灯带,简洁大气,轻奢欧式风格。风铃式吊坠,聆听世界之音,

扣槽、插接式角码链接工艺,型材与型材亲密结合,形成共同体,受力之强大角部受力可达20T异型阳光房,超大型阳光房之首选。

未标题-8.jpg

8e1e99ce545660d50e256f040c2d9f9.jpg